挑战Google Glass 传微软正测试智能眼镜
北京时间10月23日消息,据《华尔街日报》报道,微软正在测试类似于谷歌眼镜(Google Glass)的可联网眼镜原型产品,计划以此进军可穿戴计算市场。
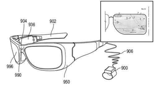
传微软正测试智能眼镜(图片来自腾讯) 媒体援引熟悉微软该项目的知情人士称,微软已确定亚洲几家零部件厂商提供眼镜原型的摄像头和其他核心零部件部件。但该知情人士同时指出,这款智能眼镜最终能否量产还不确定。该知情人士还称,微软“决心在硬件制造上占据先机,以确保抓住可穿戴设备市场的机会”。 对此业内人士表示,此举表明微软正在密切关注新兴的可穿戴计算设备市场。同时也说明微软正在努力将自己从一家软件公司转型为设备与服务公司。 据了解,智能穿戴设备市场的典型产品包括,监控用户运动量的智能手环,具有一些智能手机功能的智能手表,以及其他一些更前卫的想法,如用纹身登录计算设备等。调研公司ABI Research预计,2018年全球可穿戴计算设备的年销量将达到4.85亿部。 此外,专利公司Envision IP数据显示,截至今年10月10日,微软拥有78项与头戴显示器和其他可穿戴技术相关的美国专利,以及94项已公开的在申请专利。相比之下,谷歌和苹果(519.87, -1.50, -0.29%)公司在该领域分别有59项和27项专利。
|