未来索引
开启左侧

苹果新专利 动动眼球就能操控一切

[复制链接]
邢远 发表于 2015-1-28 03:26:05 | 显示全部楼层 |阅读模式 打印 上一主题 下一主题

0.jpg



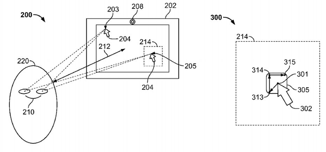
苹果周二获得了一项眼球追踪技术的专利,可能会将其应用于未来的iOS设备、Mac电脑,甚至是Apple TV产品。这项专利详细介绍了一种能够积极追踪用户眼球的图形用户界面,可以让用户通过眼神控制屏幕上的输入或鼠标指针。


不过这项专利的主要意图是防止出现一种常见的眼球追踪问题,即“特克斯勒消逝效应”(Troxler Effect),它指的是当用户凝视屏幕上原本固定的物体时,会产生这个物体正在慢慢消逝的错觉。


要解决这个潜在的问题,苹果的最新专利提出了检测眼球运动、眨眼,以及测试身体与屏幕距离等多种方法。这些方法共同作用,有助于在这种图形用户界面下,防止固定的物体渐渐消逝。


在这项专利中,苹果提出了将眼球追踪技术应用于iOS设备和Mac电脑的可能性,同时可以想象它可能会应用到未来的Apple TV设备。但是要知道,苹果和不少科技公司都拥有大量的专利技术,但有些技术从来没有应用到消费设备上,所以先不要对眼球追踪版iPhone抱太大希望。


该会员没有填写今日想说内容.

精彩评论1

邢远 发表于 2015-1-28 03:27:30 | 显示全部楼层
记得 很多年前 级高端相机 有个技术可以跟踪眼球动作 发现眼睛注视的部位分析 对焦点的改变
智能技术共享平台 - 未来论 http://www.mywll.com/
回复

使用道具 举报

高级模式
您需要登录后才可以回帖 登录 | 立即注册

本版积分规则

关注2973

粉丝3242

帖子9944

发布主题
推荐阅读 更多
阅读排行 更多
广告位
!jz_fbzt! !jz_sgzt! !jz_xgzt! 快速回复 !jz_sctz! !jz_fhlb! 搜索

智能技术共享平台 - 未来论

关注服务号

进入小程序

全国服务中心:

运维中心:天津

未来之家:天津 青岛 济南 郑州 石家庄

                商务邮箱:xy@mywll.com

Copyright © 2012-2021 未来派 未来论 (津ICP备16000236号-5)